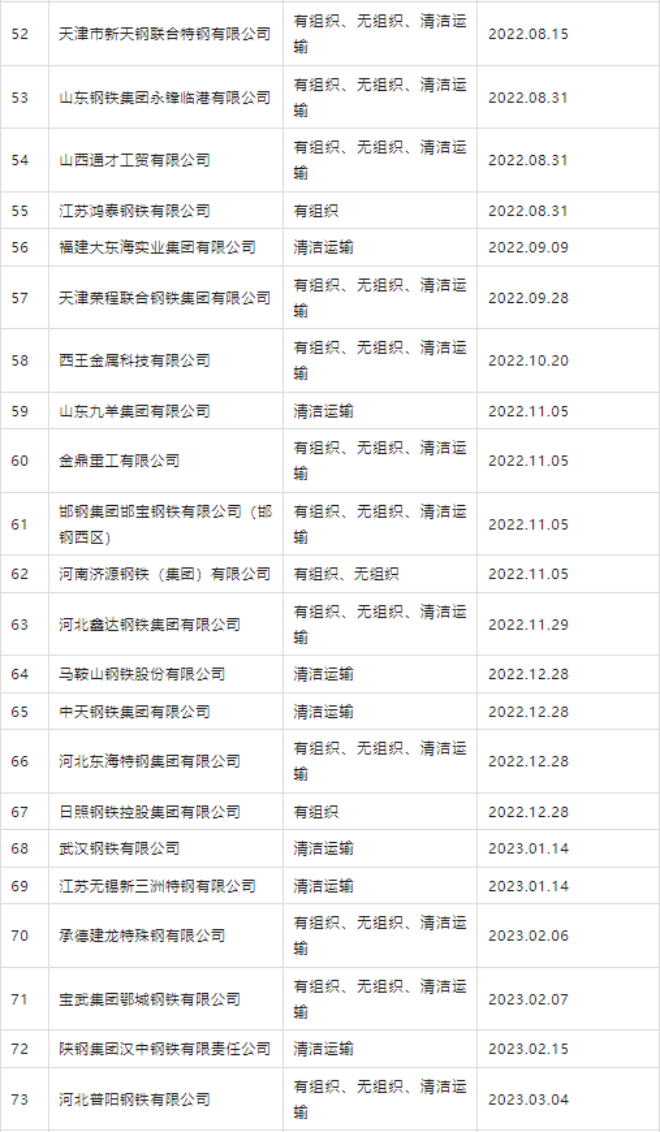
自2020年8月起,中國鋼鐵工業協會開展了鋼鐵企業超低排放改造和評估監測進展情況公示工作。從中國鋼鐵工業協會網站獲悉,截至2023年4月23日,已有78家企業在鋼協網站進行公示。

已公示企業名單及公示內容整理如下——





已公示超低排放改造鋼企增至78家
2023-04-24 09:57:00






來源:中國鋼鐵工業協會
編輯:張雨恬
地址:北京市朝陽區安貞里三區26樓 郵編:100029 電話:(010)64442120/(010)64442123 傳真:(010)64411645 電子郵箱:csteelnews@126.com
中國冶金報/中國鋼鐵新聞網法律顧問:大成律師事務所 楊貴生律師 電話:010-58137252 13501065895 Email:guisheng.yang@dentons.cn
中國鋼鐵新聞網版權所有,未經書面授權禁止使用 京ICP備07016269號 京公網安備11010502033228